微信扫码

  • 暂无联系客服
Cloud Zoom small image
类型:套筒滚子链 材质:中碳合金钢 主要应用于埋刮板输送机和自清式刮板输送机。

名称:刮板链条
可在线通过咨询了解详情
 
通过以下按钮进入下一步
  • 详情
  • 评价



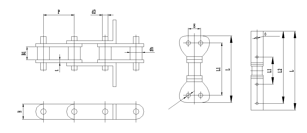
埋刮板输送机链条规格尺寸。


节距

内节内宽

滚子外径

销轴直径

板宽

板厚

附板尺寸

拉伸载荷

P

b1

d1

d2

H

S

L

L1

L2

d3

KN

GLF66.5

66.5

26.5

22.23

12

30

5-6

160-270

102

228

9

130

GLF76.2

76.2

30

30

11.1

40

5-6

230

95

195

9

110

GLF100

100

38.5

36

16

40

6

170-294

104-115

194-295

9

220

GLF125

125

32.5

28.58

14.27

40

6

235.5

195.5

 

9

170

GL160

160

27

32

14.27

45

6

290

250

 

9

280











自清式(U型)刮板机链条规格尺寸


节距

内节内宽

滚子外径

销轴直径

板宽

板厚

附板尺寸

拉伸载荷

P

b1

d1

d2

H

S

L

L1

E

d3

KN

GLR60

60

26.5

22.23

11.1

30

5

130

102

32

9

90

GLR66.5

66.5

26.5

22.23

12

30

5-6

130

102

32

9

130

GLR68

68

26

22.23

11.1

30

5-6

122

102

32

9

110

GLR100

100

38.5

36

16

40

6

130

102

32

9

220


注:可根据客户提图纸尺寸生产