材质:
1、改良高密度聚乙烯
2、尼龙
改良聚乙烯理化性能:
1:高强度、耐磨损、抗腐蚀、表面光洁、符合国家食品行业卫生标准。
2:自重轻,延长提升带的使用周期,降低能耗。
3:韧性好,破碎率低,工作时不会因为磨擦产生粉尘爆炸。
适用范围:
|
材质 |
颜色 |
应用 |
温度范围 |
备注 |
|
度密度 聚乙烯 |
白色 |
谷物、种子、饲料、面粉、食品、肥料等 |
-40度至80度 |
经济型,不适合密度较大的物料和边缘锋利或表面粗糙的碎玻璃、挤压饲料等物料 |
|
尼龙 |
米黄色 |
耐高温,抗撞击,适用于表面粗糙密度大的物料。 |
-15度至120度 |
适用于温度高,撞击率高及磨损大的工作环境中使用 |
使用建议:
1、适用于高速提升机或容重轻的物料。
2、建议提升机线速度≤3.5米/秒。
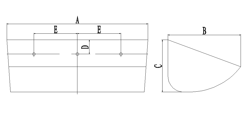
参数及型号
|
规格型号 |
A |
B |
C |
D |
E |
孔数 |
孔径 |
容积 |
|
DQ1009 |
106 |
90 |
59 |
20 |
50 |
2 |
7 |
0.26 |
|
DQ1311 |
136 |
114 |
72 |
25 |
60 |
2 |
7 |
0.5 |
|
DQ1814 |
186 |
140 |
87 |
30 |
110 |
2 |
9 |
1.13 |
|
DQ2314 |
235 |
140 |
110 |
350 |
120 |
2 |
9 |
1.6 |
|
DQ2316 |
238 |
165 |
102 |
35 |
120 |
2 |
9 |
1.92 |
|
DQ2417 |
248 |
178 |
120 |
38 |
120 |
2 |
9 |
2.6 |
|
DQ2814 |
286 |
140 |
103 |
35 |
90 |
3 |
9 |
2.05 |
|
DQ2816 |
290 |
167 |
108 |
35 |
90 |
3 |
9 |
2.5 |
|
DQ2824 |
289 |
244 |
166 |
45 |
105 |
3 |
9 |
6.4 |
|
DQ3321 |
337 |
215 |
140 |
40 |
85 |
4 |
9 |
5.5 |
|
DQ3823 |
382 |
230 |
165 |
45 |
100 |
4 |
9 |
8 |
|
DQ4423 |
445 |
230 |
165 |
45 |
85 |
5 |
9 |
9.5 |
|
DQ4723 |
475 |
230 |
164 |
45 |
95 |
5 |
9 |
10 |
|
DQ4726 |
470 |
260 |
170 |
50 |
95 |
5 |
9 |
11.5 |
|
DQ5121 |
519 |
225 |
168 |
50 |
100 |
5 |
11 |
10.76 |
|
DQ5626 |
569 |
260 |
170 |
50 |
115 |
5 |
11 |
15 |