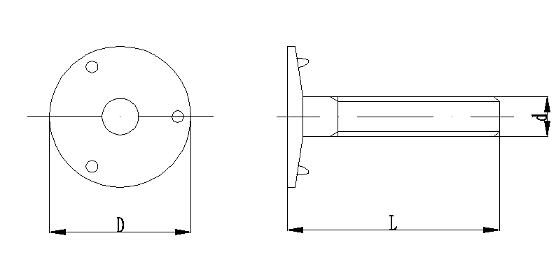
畚斗螺钉
材 质:碳钢(镀锌处理),304不锈钢。
强度等级:4.8级 5.6级。
螺纹精度:6g
特 点:头部螺杆侧端面有三个凸起尖牙,在旋紧螺母时,可防止螺钉跟转。适用于物料容重轻,线速度低的塑料畚斗的安装,是经济适用型的螺钉。
规格参数
|
规格 |
d |
D |
L |
|
M6*16 |
M6 |
18 |
10 |
|
M6*20 |
M6 |
18 |
20 |
|
M6*25 |
M6 |
18 |
25 |
|
M8*30 |
M8 |
22 |
30 |
|
M8*35 |
M8 |
22 |
35 |


牙口螺钉
材 质:碳钢(镀锌处理),304不锈钢。
强度等级:4.8级 5.6级。
螺纹精度:6g
特 点:头部螺杆侧端面有两个凸起尖牙,在旋紧螺母时,尖牙可容易地卡入提升带,防止螺钉跟转效果好。适用于物料容重大,线速度较高的塑料畚斗和钢质畚斗的安装,特别适用于大容量畚头的安装,在设备运转过程中能承受较大的冲击负载。
规格参数
规格
d
D
L
M6*25
M6
25
25
M6*30
M6
25
30
M6*35
M6
25
35
M6*40
M6
25
40
M8*30
M8
28
30
M8*35
M8
28
35
M8*40
M8
28
40
M10*35
M10
30
35
M10*40
M10
30
40
M10*45
M10
30
45
M10*50
M10
30
50


皮带螺钉(蟹壳螺钉)
材 质:45钢 304不锈钢
螺纹精度:6g
特 点:高强度蟹壳螺钉,专门用于钢质畚斗的安装,在设备运转过程中更牢固,抗冲击能力更强。
规格参数
规格
螺杆直径
解壳尺寸
爪体尺寸
螺杆长度
M6*25
M6
35*30
25*20
25
M6*32
M6
35*30
25*20
32
M8*32
M8
40*35
28*23
32
M8*40
M8
40*35
28*23
40
M10*42
M10
40*48
26*31
42
M10*50
M10
40*48
26*31
50
M10*55
M10
40*48
26*31
55
M10*60
M10
40*48
26*31
60